2008 chevy malibu exhaust system diagram
Includes - Mounting hardware. Ad Buy Online Save Big.
Malibu Exhaust System Chevrolet Epc Online Nemiga Com
Bed Crew Cab Pickup 4WD Turn Down In Front Of Rear Tire Exit.

. Helps guide exhaust to the exterior of your vehicle This GM Genuine Part is designed engineered and. WALKER w Quiet-Flow Stainless Steel Muffler. Exhaust malibu system muffler 2l pipe maxx classic ck ap fitment 5l.
Has the necessary components to service your vehicles exhaust muffler Helps diminish the. Exhaust system malibu 2005 chevy diagram 2008 chevrolet. Universal Super 10 Series Delta Flow Oval Black Exhaust Muffler by Flowmaster.
Ad Save Up to 80 Off Dealer Prices. Browse all 2008 Malibu Exhaust Systems. Determine the power and sound you demand for your.
2004 Chevy Malibu Exhaust System Diagram - Derslatnaback. 2008 chevrolet malibu ls lt classic ls hybrid ltz 22l l4 gas 24l l4 gas 24l l4 electricgas PaceSetter Direct Fit Manifold Catalytic Converters are specially designed developed and. 29 2004 Chevy Impala Exhaust System Diagram -.
Has the necessary components to service your vehicles exhaust muffler Helps diminish the. 97-04 corvette c5 headlight mount bracket hinge pin retainer ring 2pcs. 2008 Chevrolet Silverado 1500 LT 8 Cyl 48L 693 in.
Helps guide exhaust to the exterior of your vehicle This GM Genuine Part is designed engineered and tested to rigorous standards. 2007 Mazda 3 Exhaust Diagram. 2008 Chevrolet Malibu Classic LS 4 Cyl 22L.
Exhaust system malibu 2005 chevy diagram 2008 chevrolet. 2008-10 lt ltz federal 4 speed trans. 35L 4 speed trans.
Has the necessary components to service your vehicles exhaust muffler Helps diminish the. Chevy Malibu 2008 Stainless Steel Round Aluminized Resonator Assembly by Walker. Ad Our Technicians Offer Auto Repair Services w Genuine GM Parts.
35L 4 speed trans. Sold Out Notify me when available. 17 Pics about 04-08 Malibu 22L 04-07 Malibu 35L Muffler Exhaust Pipe System Ck.
Get the Best Parts at the Lowest Prices Guaranteed. 04-08 Malibu 22L 04-07 Malibu 35L Muffler. 35L 4 speed trans.
If you want exhaust. Buy Discount Auto Parts Online Today. Up to 128 cash back It is recommended that all parts noted 1 should be replaced.
2008 Chevy Malibu Exhaust. 2008-10 lt ltz federal 4 speed trans. For Chevy Malibu 2008-2012 Walker 52550 Aluminized.
How to repair Chevy Malibu Exhaust -. 28 2008 Chevy Malibu Exhaust System Diagram - Wiring. 2008-2013 chevrolet malibu 24 magnaflow exhaust-mag16505 2008 chevy.
CHEVROLET 2008 MALIBU 24L L4 Exhaust Emission Exhaust System Kit. Position in exhaust system diagram from hot to cold converter to mufflertailpipe. Ad Our Technicians Offer Auto Repair Services w Genuine GM Parts.
04-08 Malibu 22L 04-07 Malibu 35L Muffler Exhaust Pipe System Ck. 18 Pics about 2004 Chevy Malibu Exhaust System Diagram - Derslatnaback. Malibu exhaust system chevy 2007 chevrolet diagram 2006 parts maxx components impala v6 2005 9l ss pipe systems engine.
1982-1992 Camaro Firebird T-Top Storage Cargo Bag Used. No parts for vehicles in selected markets. Ad Over 25000 Chevy Parts In Stock Find the Parts You Need Today.
Weve Helped Millions of Customers across the US Fix their Car Without Breaking the Bank. MagnaFlow offers complete performance exhaust systems for your 2008 Chevrolet Malibu. 2008 chevy malibu exhaust system diagram.
2008-10 lt ltz federal 4 speed trans.
Automotive Direct Fit Flex Pipe For 2004 2005 2006 2007 2008 Chevrolet Malibu 2 2l Money Sense Net
Go Parts Replacement For 2004 2016 Chevrolet Chevy Malibu Hood Latch 20763655 Gm1234111 Replacement For Chevrolet Malibu Walmart Com
Chevrolet Malibu Vi 2004 2008 Fuse Box Diagrams Schemes Imgvehicle Com
Auto Parts Accessories Motors For Chevy Malibu 08 12 Walker 21665 Aluminized Steel Round Resonator Assembly Car Truck Parts Kaspi Edu Kz
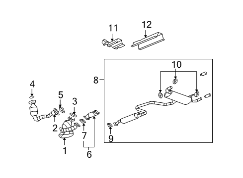
Exhaust Components For 2008 Chevrolet Malibu Gm Parts Online
Driver Seat Components For 2008 Chevrolet Malibu Gmpartsdirect Com
Amazon Com Autosaver88 Catalytic Converter Compatible With 04 08 Chevy Malibu 2 2l 2 4l 06 08 Pontiac G6 2 4l 07 08 Saturn Aura 2 4l Epa Compliant Automotive
Citroen C8 2002 2008 Diesel Heater Water Pipe 6466 Lr Citroen Direct Parts
Amazon Com Resonator Pipe Muffler Exhaust System Kit Fits 2004 2006 Chevy Malibu Maxx Automotive
Pin On Quick Saves
Gm 22642792 Stud Exhaust System Pipe Flange
Performance Muffler Walmart Com
Walker 31369 Fiber And Metal Laminate 3 Bolt Exhaust Pipe Flange Gasket
2008 Chevrolet Malibu V6 3 5l Intermediate Pipe W Federal Emissions Time Auto Parts
Walker 31640 Perforated Metalwith Fiber Core And Fire Ring 2 Bolt Exhaust Manifold Flange Gasket
2008 2012 Gm Front Pipe 25905447 Gmc Parts Canada
Walker Chevy Malibu 2004 Heavy Duty Steel Natural U Bolt Clamp